Potrzebuje schematy ele. foteli od 406 coupe
-
havana
- Nowicjusz
- Posty: 44
- Rejestracja: 08 gru wt, 2009 9:25 pm
- Posiadany PUG: peugeot 205 1,1
- Numer Gadu-gadu: 0
- Lokalizacja: Luboń/k Poznań
Potrzebuje schematy ele. foteli od 406 coupe
Jak w temacie bo nie daje juz rady z tymi kabelkami... Pomocy!
-
havana
- Nowicjusz
- Posty: 44
- Rejestracja: 08 gru wt, 2009 9:25 pm
- Posiadany PUG: peugeot 205 1,1
- Numer Gadu-gadu: 0
- Lokalizacja: Luboń/k Poznań
Re: Potrzebuje schematy ele. foteli od 406 coupe
Możę ma ktoś konto na forum 406? I jest wstanie luknąć czy niema wzmianki na potrzebny mi temat bo nie chce się rejestrować tylko po to by przeryć ich posty... z góry dziękuje 
- Pluto
- Maniak
- Posty: 1615
- Rejestracja: 17 cze śr, 2009 10:33 pm
- Posiadany PUG: Audi A4 Quattro Avant
- Lokalizacja: Lubin
- Kontakt:
Re: Potrzebuje schematy ele. foteli od 406 coupe
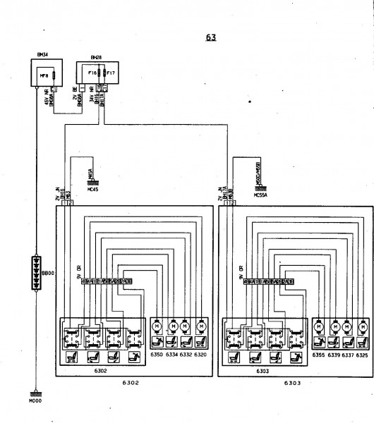
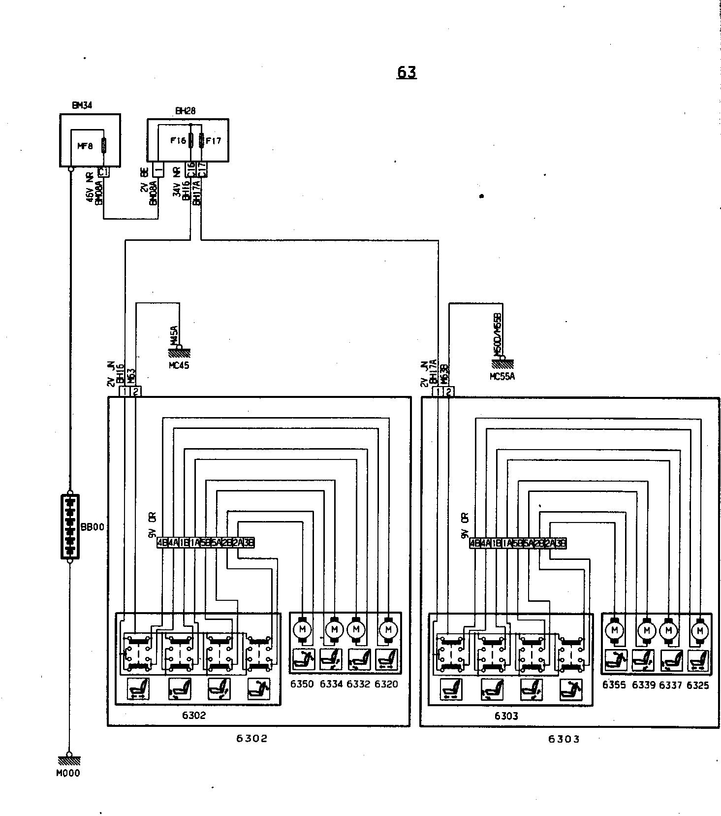
Myślę, że pomogłem
-
havana
- Nowicjusz
- Posty: 44
- Rejestracja: 08 gru wt, 2009 9:25 pm
- Posiadany PUG: peugeot 205 1,1
- Numer Gadu-gadu: 0
- Lokalizacja: Luboń/k Poznań
Re: Potrzebuje schematy ele. foteli od 406 coupe
o to chodziło! wielkie dzięki 
-
camila
Re: Potrzebuje schematy ele. foteli od 406 coupe
Czy kolor tworzywa może być tylko biały? Rozumiem, że tylko z plików robisz, nie skanujesz 3D?
Multum plastikowych pierdoletów do 205tki potrzeba... Ale jak się skorzysta ze skanera, to nawet nazwa producenta będzie...
Multum plastikowych pierdoletów do 205tki potrzeba... Ale jak się skorzysta ze skanera, to nawet nazwa producenta będzie...
- krzyska
- Peugeot 205 Master
- Posty: 2097
- Rejestracja: 02 paź pt, 2009 9:49 pm
- Posiadany PUG: Forever, Griffe, Honda CB125Twin 1978, Alfa Romeo 147JTDm, P207UjemnieDynamiczny, Patriot KS90
- Numer Gadu-gadu: 0
- Lokalizacja: okolice Kruszwicy
Re: Potrzebuje schematy ele. foteli od 406 coupe
Weryfikacjo nowych użytkowników WRÓĆ!!!
GTI_Efekt Masy 
- bhejduk
- Uzalezniony
- Posty: 518
- Rejestracja: 20 wrz wt, 2011 11:36 pm
- Posiadany PUG: Roland Garros Cabrio 1.4
- Lokalizacja: Łódź
Re: Potrzebuje schematy ele. foteli od 406 coupe
Trafiłem na ten temat przed chwilą i za cholerę nie mogę zrozumieć co "camila" miała na myśli... głupi chyba jestem.camila pisze:Czy kolor tworzywa może być tylko biały? Rozumiem, że tylko z plików robisz, nie skanujesz 3D?
Multum plastikowych pierdoletów do 205tki potrzeba... Ale jak się skorzysta ze skanera, to nawet nazwa producenta będzie...
Bartek jestem.