czujnik GMP?
-
putbill
czujnik GMP?
Powiedzcie mi czy końcówka od czujnika GMP służu tylko do diagnostyki, czy powinna być gdzieś podłączona bo u mnie kostka od tego czujnika jest luźno i nigdzie nie jest wpięta 
- Kaktus
- Maniak
- Posty: 1567
- Rejestracja: 12 cze czw, 2003 10:26 pm
- Numer Gadu-gadu: 0
- Lokalizacja: Opole
- Kontakt:
do ustawienia zaplonu to sluzy. Ogolnie mozna to gowno wywalic, bo teraz i tak sie zaplon ustawia zupelnie innymi i bardziej profesjonalnymi urzadzeniami.
http://www.k-sport.eu - Budowa Samochodow Wyczynowych, Hamownia, Chip-Tuning.
DEAKTYWUJEMY PROGRAMOWO FILTRY FAP i DPF!!!
"Wygrywa nie ten, kto ostatni zaczyna hamowac, tylko ten kto pierwszy zaczyna przyspieszac" Tomasz Sikora
DEAKTYWUJEMY PROGRAMOWO FILTRY FAP i DPF!!!
"Wygrywa nie ten, kto ostatni zaczyna hamowac, tylko ten kto pierwszy zaczyna przyspieszac" Tomasz Sikora
- blaszka
- Peugeot 205 Master
- Posty: 2817
- Rejestracja: 17 mar czw, 2005 3:43 pm
- Numer Gadu-gadu: 0
- Lokalizacja: Goleniów/Szczecin
- Kontakt:
Jednym
z najważniejszych sygnałów w sterowaniu silnikiem spalinowym o ZI (zapłonie iskrowym) jest sygnał kątowego położenia wału korbowego oraz sygnał prędkości obrotowej. Bez tych sygnałów sterowanie silnikiem byłoby niemożliwe. Dość często w elektronicznych systemach sterowania silnikiem spalinowym informacje o prędkości obrotowej i chwilowym położeniu wału korbowego uzyskuje się na podstawie sygnału z jednego czujnika. Informacje te wykorzystywane są przez system sterowania do:
- wyznaczania optymalnego kąta zapłonu,
- generowania impulsu zapłonu we właściwej chwili,
- wyznaczania optymalnego czasu oraz częstotliwości wtrysku paliwa,
- generowania impulsu wtrysku paliwa we właściwej chwili.
Są to parametry decydujące o właściwej lub niewłaściwej pracy silnika. Z tego powodu omawiany układ musi dostarczać precyzyjne informacje o położeniu kątowym wału silnika, a zarazem musi wykazywać wysoką niezawodność i trwałość.
Częścią
ruchomą zespołu czujnika jest tarcza z materiału ferromagnetycznego zamocowana w jednoznaczny sposób na wale korbowym silnika. Na obwodzie tarczy wykonane są wycięcia. Jedno z nich wykonane jest w takim miejscu, aby ściśle określało położenie wału korbowego silnika. W silniku POLONEZA tarcza ferromagnetyczna jest jednocześnie kołem pasowym umieszczonym z przodu silnika. Posiada sześć nacięć na całym obwodzie oddalonych od siebie o kąt 60 stopni. Wcięcie siódme znajduje się w odległości 120 stopni i ono określa położenie wału korbowego.
W rozwiązaniach
bardziej zaawansowanych koło zębate jest jednocześnie kołem zamachowym z tyłu silnika, posiada 60 zębów na obwodzie z których dwa zostały usunięte w celo oznaczenia górnego punktu zwrotnego tłoka. (GMP) w pierwszym cylindrze.
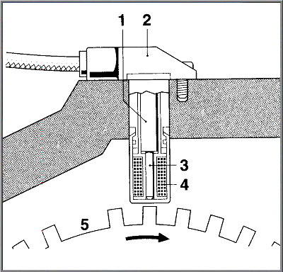
Rys. 1.
Czujnik położenia i obrotów wału korbowego:
1 - magnes trwały,
2 - obudowa zamknięta,
3 - rdzeń ferromagnetyczny,
4 - cewka,
5 - koło zębate.
Część
nieruchomą czujnika stanowi cylinder (rys. 1). Na rdzeniu (3) jest nawinięta cewka (4), a jej końce wyprowadzone są do gniazda wyjściowego. Rdzeń oraz cewka zamknięte są w jednej nierozbieralnej obudowie (2).
Czujnik
jest zamontowany tak, że wycięcia w części ruchomej otwierają obwód magnetyczny czujnika. Strumień magnetyczny pochodzący od magnesu trwałego przenikając zwoje cewki powoduje indukowanie się w nich siły elektromotorycznej SEM. Warunkiem indukowania się SEM jest zmiana wartości strumienia magnetycznego w czasie. Największe wielkości zmian strumienia magnetycznego występują wtedy, gdy wycięcia części ruchomej obejmują całą szerokość rdzenia części nieruchomej. Szerokość rdzenia równa się szerokości wycięcia części ruchomej aby możliwe było ścisłe określenie kąta zapłonu. Kąt położenia wału korbowego określa się na podstawie sygnału z czujnika PWK (Położenie Wału Korbowego) mierząc czas pomiędzy amplitudami sygnału w chwili występowania dodatkowego (siódmego) impulsu z czujnika. W rzeczywistych warunkach taki sposób określania kąta położenia wału korbowego obarczony jest pewnym błędem. Centralka sterująca wyznacza kąt położenia wału korbowego na podstawie pomiaru czasu z poprzedniego cyklu. W przypadku, gdy w dwóch następujących po sobie cyklach prędkość silnika będzie różna nastąpi błąd identyfikacji położenia wału silnika. Błąd jest tym większy im większa jest różnica prędkości obrotowej silnika w dwóch sąsiednich cyklach. Błąd ten można zmniejszyć stosując koło z dużą ilością nacięć gdzie pomiaru między sąsiednimi amplitudami można dokonywać częściej.
Znaczne
różnice prędkości silnika występują w następujących przypadkach:
- na biegu jałowym,
- w fazie przyspieszania,
- w fazie wytracania prędkości silnika.
W tych stanach pracy silnika prawidłowa ocena kątowego położenia wału korbowego jest bardzo ważna, gdyż zależy od niej kąt zapłonu, od którego z kolei zależy dynamika silnika. Drugą informacją zawartą w sygnale z czujnika PWK jest informacja o aktualnej prędkości obrotowej silnika. Wartość prędkości obrotowej w obr/min. centralna jednostka sterująca wyznacza dzieląc częstotliwość impulsów z czujnika przez siedem i mnożąc przez sześćdziesiąt, w przypadku POLONEZA. Od prędkości obrotowej silnika zależy: kąt zapłonu, częstotliwość wtrysku oraz poziom otwarcia zaworu w kanale obejściowym przepustnicy.
z najważniejszych sygnałów w sterowaniu silnikiem spalinowym o ZI (zapłonie iskrowym) jest sygnał kątowego położenia wału korbowego oraz sygnał prędkości obrotowej. Bez tych sygnałów sterowanie silnikiem byłoby niemożliwe. Dość często w elektronicznych systemach sterowania silnikiem spalinowym informacje o prędkości obrotowej i chwilowym położeniu wału korbowego uzyskuje się na podstawie sygnału z jednego czujnika. Informacje te wykorzystywane są przez system sterowania do:
- wyznaczania optymalnego kąta zapłonu,
- generowania impulsu zapłonu we właściwej chwili,
- wyznaczania optymalnego czasu oraz częstotliwości wtrysku paliwa,
- generowania impulsu wtrysku paliwa we właściwej chwili.
Są to parametry decydujące o właściwej lub niewłaściwej pracy silnika. Z tego powodu omawiany układ musi dostarczać precyzyjne informacje o położeniu kątowym wału silnika, a zarazem musi wykazywać wysoką niezawodność i trwałość.
Częścią
ruchomą zespołu czujnika jest tarcza z materiału ferromagnetycznego zamocowana w jednoznaczny sposób na wale korbowym silnika. Na obwodzie tarczy wykonane są wycięcia. Jedno z nich wykonane jest w takim miejscu, aby ściśle określało położenie wału korbowego silnika. W silniku POLONEZA tarcza ferromagnetyczna jest jednocześnie kołem pasowym umieszczonym z przodu silnika. Posiada sześć nacięć na całym obwodzie oddalonych od siebie o kąt 60 stopni. Wcięcie siódme znajduje się w odległości 120 stopni i ono określa położenie wału korbowego.
W rozwiązaniach
bardziej zaawansowanych koło zębate jest jednocześnie kołem zamachowym z tyłu silnika, posiada 60 zębów na obwodzie z których dwa zostały usunięte w celo oznaczenia górnego punktu zwrotnego tłoka. (GMP) w pierwszym cylindrze.
Rys. 1.
Czujnik położenia i obrotów wału korbowego:
1 - magnes trwały,
2 - obudowa zamknięta,
3 - rdzeń ferromagnetyczny,
4 - cewka,
5 - koło zębate.
Część
nieruchomą czujnika stanowi cylinder (rys. 1). Na rdzeniu (3) jest nawinięta cewka (4), a jej końce wyprowadzone są do gniazda wyjściowego. Rdzeń oraz cewka zamknięte są w jednej nierozbieralnej obudowie (2).
Czujnik
jest zamontowany tak, że wycięcia w części ruchomej otwierają obwód magnetyczny czujnika. Strumień magnetyczny pochodzący od magnesu trwałego przenikając zwoje cewki powoduje indukowanie się w nich siły elektromotorycznej SEM. Warunkiem indukowania się SEM jest zmiana wartości strumienia magnetycznego w czasie. Największe wielkości zmian strumienia magnetycznego występują wtedy, gdy wycięcia części ruchomej obejmują całą szerokość rdzenia części nieruchomej. Szerokość rdzenia równa się szerokości wycięcia części ruchomej aby możliwe było ścisłe określenie kąta zapłonu. Kąt położenia wału korbowego określa się na podstawie sygnału z czujnika PWK (Położenie Wału Korbowego) mierząc czas pomiędzy amplitudami sygnału w chwili występowania dodatkowego (siódmego) impulsu z czujnika. W rzeczywistych warunkach taki sposób określania kąta położenia wału korbowego obarczony jest pewnym błędem. Centralka sterująca wyznacza kąt położenia wału korbowego na podstawie pomiaru czasu z poprzedniego cyklu. W przypadku, gdy w dwóch następujących po sobie cyklach prędkość silnika będzie różna nastąpi błąd identyfikacji położenia wału silnika. Błąd jest tym większy im większa jest różnica prędkości obrotowej silnika w dwóch sąsiednich cyklach. Błąd ten można zmniejszyć stosując koło z dużą ilością nacięć gdzie pomiaru między sąsiednimi amplitudami można dokonywać częściej.
Znaczne
różnice prędkości silnika występują w następujących przypadkach:
- na biegu jałowym,
- w fazie przyspieszania,
- w fazie wytracania prędkości silnika.
W tych stanach pracy silnika prawidłowa ocena kątowego położenia wału korbowego jest bardzo ważna, gdyż zależy od niej kąt zapłonu, od którego z kolei zależy dynamika silnika. Drugą informacją zawartą w sygnale z czujnika PWK jest informacja o aktualnej prędkości obrotowej silnika. Wartość prędkości obrotowej w obr/min. centralna jednostka sterująca wyznacza dzieląc częstotliwość impulsów z czujnika przez siedem i mnożąc przez sześćdziesiąt, w przypadku POLONEZA. Od prędkości obrotowej silnika zależy: kąt zapłonu, częstotliwość wtrysku oraz poziom otwarcia zaworu w kanale obejściowym przepustnicy.
- Załączniki
-
- rys1 czujnik gmp.gif (36.83 KiB) Przejrzano 2011 razy